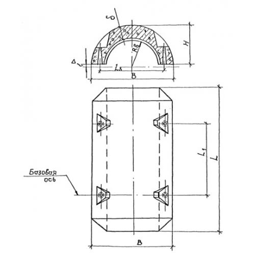
2УТК 720 утяжелители кольцевые
Характеристики изделия:
| Параметр | Значение |
|---|---|
| длина | 2400 мм |
| ширина | 1170 мм |
| высота | 555 мм |
| масса | 1380 кг |
| нормативный документ | Проект №998 |
Цена:
Рассчитать стоимость2УТК 720 Утяжелители железобетонные кольцевые сборные для магистральных трубопроводов Проект №998.
