КБ 36

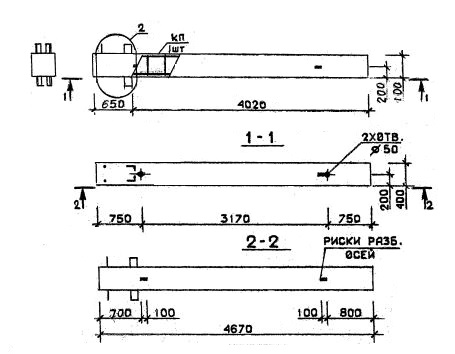
Чертеж изделия:
Характеристики изделия:
ПараметрЗначение
длина4670 мм
ширина400 мм
высота400 мм
масса1867 кг
нормативный документСерия 1.020.1-2с/89

КБ 36  Колонны бесстыковые Серия 1.020.1-2с/89.