ПК 26.12

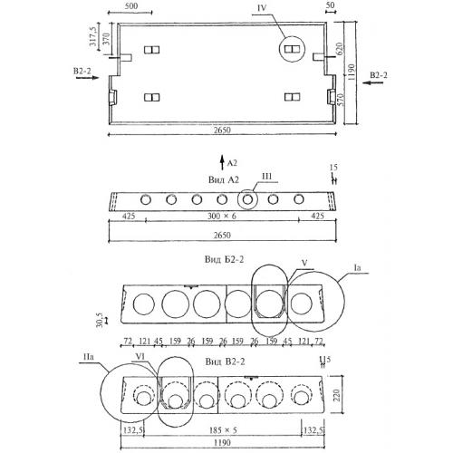
Чертеж изделия:
Характеристики изделия:
ПараметрЗначение
длина2650 мм
ширина1190 мм
высота220 мм
масса1000 кг
нормативный документСерия 1.041.1-5

ПК 26.12  Многопустотные плиты перекрытий межвидового назначения (Серия 1.041.1-5).

Плиты длиной 2650 мм и шириной 1190 мм связевые, рядовые с арматурой из стали классов  A-III  и Bp-I из тяжелого бетона.