Б 19
Характеристики изделия:
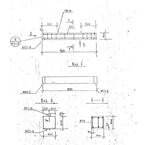
| Параметр | Значение |
|---|---|
| длина | 1850 мм |
| ширина | 400 мм |
| высота | 400 мм |
| вес | 750 кг |
| серия | 1.125 КЛ-3 |
Цена:
Рассчитать стоимостьБ 19 Балки по серии 1.125 КЛ-3.
| Параметр | Значение |
|---|---|
| длина | 1850 мм |
| ширина | 400 мм |
| высота | 400 мм |
| вес | 750 кг |
| серия | 1.125 КЛ-3 |
Б 19 Балки по серии 1.125 КЛ-3.
