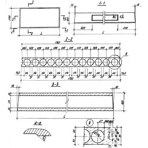
ПНО 63.18

Чертеж изделия:
Характеристики изделия:
ПараметрЗначение
длина6280 мм
ширина1790 мм
высота160 мм
вес2500 кг
серия1.141.1-39

ПНО 63.18 Плиты настила облегченные многопустотные по серии 1.141.1-39.