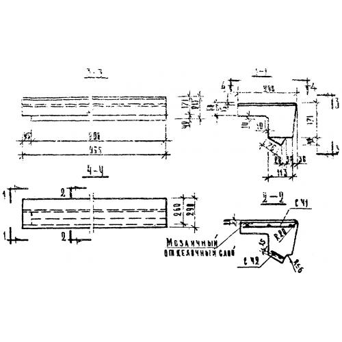
ЛСВ 9-17 ступени лестничные

Чертеж изделия:
Характеристики изделия:
ПараметрЗначение
длина900 мм
ширина290 мм
высота148 мм
масса80 кг
нормативный документСерия 1.155-1

ЛСВ 9-17  Лестничные ступени верхние фризовые Серия 1.155-1.