ПНВ 42.6.30-3я

Чертеж изделия:
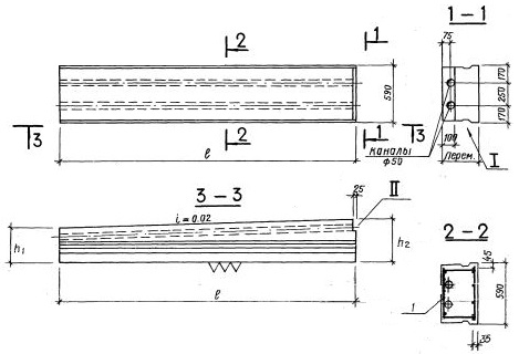
Характеристики изделия:
ПараметрЗначение
Длина4170 мм
Ширина590 мм
Высота  h1300 мм
Высота  h2384 мм
Масса600 кг
Нормативный документСерия 1.165-9

Серия 1.165-9

Панели покрытий

Однослойные ячеистобетонные для бесчердачных крыш жилых и общественных зданий с шагом несущих стен 4,2-7,2 м.

ПНВ 42.6.30-3я

Панель переменной толщины под расчетную нагрузку 300 кгс/м² (без учета собственного веса).

1. ПНВ - плита наклонная вентилируемая;

2. 42 - длина в дм;

3. 6 - ширина в дм;

4. 30 - толщина в см;

5. 3 - нагрузка;

6. я - ячеистый бетон.