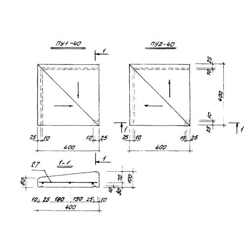
ПУ 40

Чертеж изделия:
Характеристики изделия:
ПараметрЗначение
длина400 мм
ширина400 мм
высота100 мм
вес32 кг
серия1.438-1

ПУ 40 Плиты парапетные угловые по серии 1.438-1.