ПСД 24.30.20

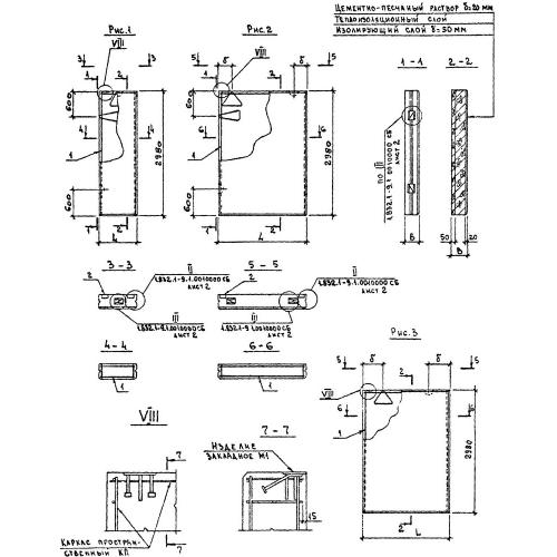
Чертеж изделия:
Характеристики изделия:
ПараметрЗначение
длина2380 мм
ширина200 мм
высота2980 мм
вес2400 кг
серия1.832.1-9

ПСД 24.30.20 Панели стеновые двухслойные по серии 1.832.1-9.