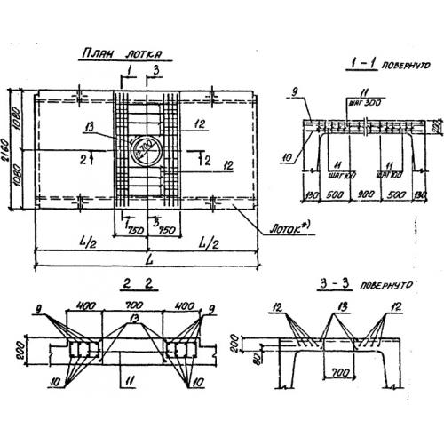
Ло 20

Чертеж изделия:
Характеристики изделия:
ПараметрЗначение
длина5970 мм
ширина2160 мм
высота1040 мм
масса7770 кг
нормативный документСерия 3.006.1-2/82

Ло 20 Лотки теплотрасс с отверстиями Серия 3.006.1-2/82.