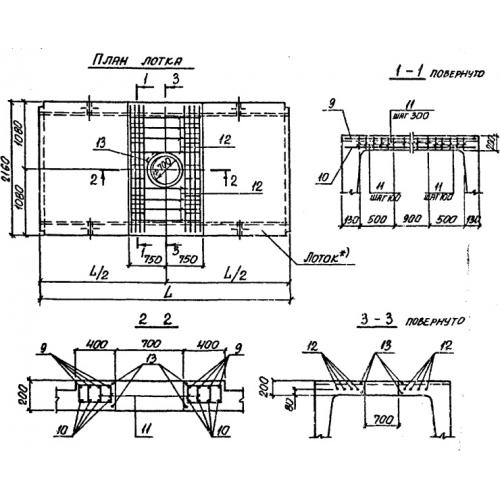
Ло 19/2 лотки с отверстием

Чертеж изделия:
Характеристики изделия:
ПараметрЗначение
длина2970 мм
ширина2160 мм
высота800 мм
масса6570 кг
нормативный документСерия 3.006.1-2/87

Ло 19/2  Лотки теплотрасс с отверстием Серия 3.006.1-2/87.