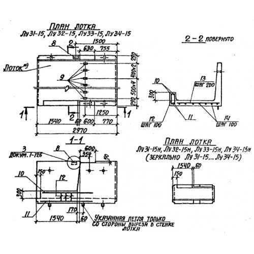
Лу 34/2 лотки угловые

Чертеж изделия:
Характеристики изделия:
ПараметрЗначение
длина2970 мм
ширина3380 мм
высота1680 мм
масса1750 кг
нормативный документСерия 3.006.1-2/87

Лу 34/2  Лотки теплотрасс угловые Серия 3.006.1-2/87.