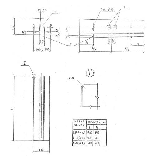
АБ 0.6-1.5 анкерная балка

Чертеж изделия:
Характеристики изделия:
ПараметрЗначение
длина1500 мм
ширина600 мм
высота600 мм
масса500 кг
нормативный документСерия 3.407.9-158

АБ 0.6-1.5   Анкерные балки по Серии 3.407.9-158.