Л 1.350

Чертеж изделия:
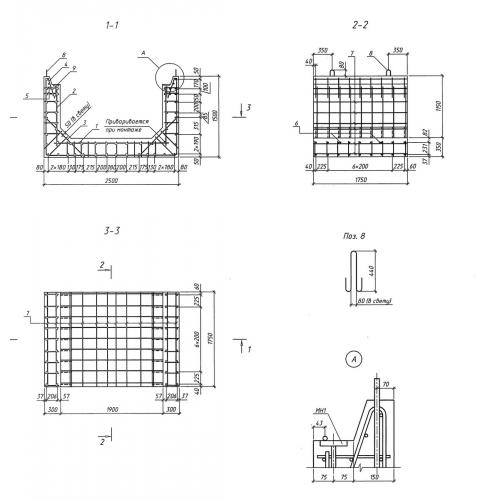
Характеристики изделия:
ПараметрЗначение
длина3500 мм
ширина2500 мм
высота1500 мм
вес13600 кг
серия3.501.9-181.95

Л 1.350 Блоки лотков по серии 3.501.9-181.95.