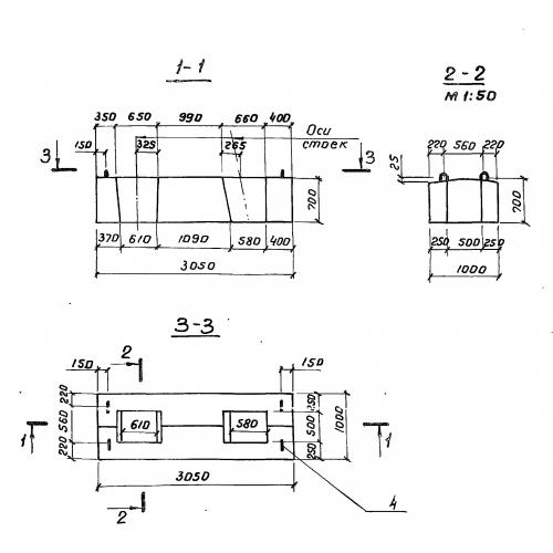
ПК 305

Чертеж изделия:
Характеристики изделия:
ПараметрЗначение
длина3050 мм
ширина100 мм
высота700 мм
вес4200 кг
серия3.503.1-53

 ПК 305 Плиты подколонников по серии 3.503.1-53.