Ф 7 а

Чертеж изделия:
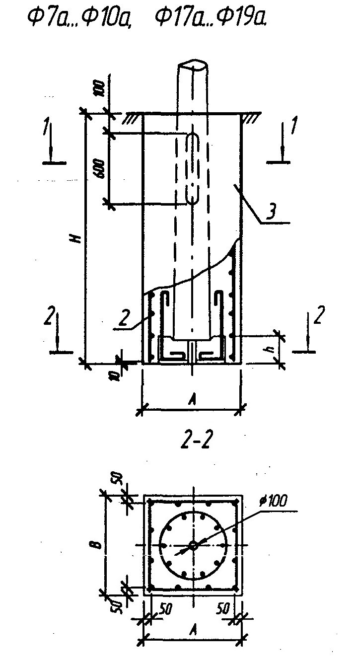
Характеристики изделия:
ПараметрЗначение
Высота Н2200 мм
Высота h250 мм
Длина А1200 мм
Ширина В1200 мм
Вес7300 кг
СерияБ3.507.1-3.04
Норма погрузки на машину (20тн)2 шт
Вагонная норма погрузки-

Фундамент Ф 7 а изготавливается из тяжелого бетона и предназначен для установки стоек СКЦ согласно нормам серии Б3.507.1-3.04.