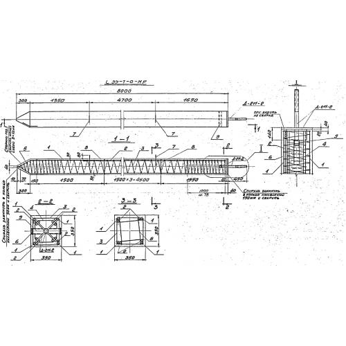
С 35-1-8

Чертеж изделия:
Характеристики изделия:
ПараметрЗначение
длина8000 мм
ширина350 мм
высота350 мм
вес2400 кг
серияТП 12614тм-т1

С 35-1-8 Сваи вибрированные по проекту ТП 12614тм-т1.