ЛМ 36.15
Характеристики изделия:
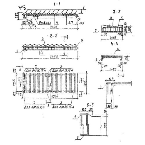
| Параметр | Значение |
|---|---|
| длина | 3950 мм |
| ширина | 1495 мм |
| высота | 1730 мм |
| вес | 1950 кг |
| серия | ТП 501-07-5.84 |
Цена:
Рассчитать стоимостьЛМ 36.15 Лестничные марши по серии ТП 501-07-5.84.
| Параметр | Значение |
|---|---|
| длина | 3950 мм |
| ширина | 1495 мм |
| высота | 1730 мм |
| вес | 1950 кг |
| серия | ТП 501-07-5.84 |
ЛМ 36.15 Лестничные марши по серии ТП 501-07-5.84.
